HAOSAIL cuenta con más de 10 patentes de invención y 40 patentes de modelos de utilidad, lo que refleja nuestro compromiso con la I+D y el avance tecnológico.
Priorizamos rigurosos procesos de control de calidad y pruebas para garantizar el cumplimiento de las normas internacionales y los requisitos del cliente.
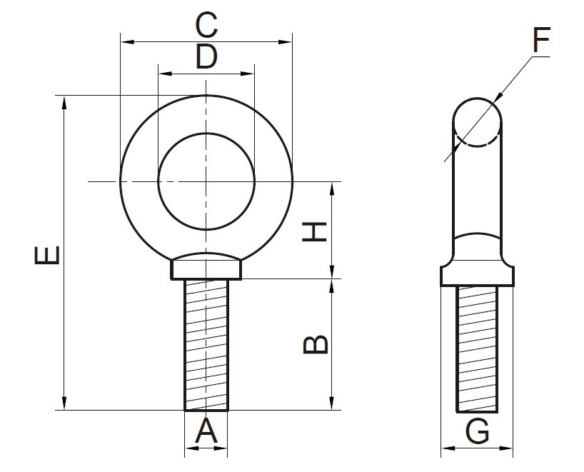
El cáncamo de maquinaria tipo hombro G279 es un conector diseñado para la instalación de maquinaria, elevación de equipos y otros escenarios. Su cuerpo principal está hecho de acero al carbono de alta calidad mediante forjado, temple y revenido para garantizar una alta resistencia y tenacidad. Un extremo es una rosca UNC estándar, que se puede atornillar fácilmente en el orificio de montaje con rosca interna; El diseño único del hombro en el medio puede evitar eficazmente que el perno se atornille demasiado y proporcionar soporte adicional durante la elevación. El otro extremo es un ojo de elevación resistente para facilitar la conexión del aparejo de elevación. Las especificaciones varían de 1/4 de pulgada a 1 1/2 pulgadas para satisfacer diferentes necesidades de instalación. Varios tratamientos superficiales, procesos de galvanizado y galvanizado en caliente mejoran su resistencia a la oxidación en diversos entornos.
![]()
| Nº de inventario | Tamaño (AxB) (pulgadas) | WLL ( lbs) | Dimensiones(pulgadas) | Peso 100pcs (lbs) | |||||||
| Un | B | C | D | E | F | G | H | ||||
| HS2040601 | 1/4x1 | 650 | 0.25 | 1.02 | 1.13 | 0.75 | 2.29 | 0.19 | 0.53 | 0.77 | 5 |
| HS2040602 | 5/16x1-1/8 | 1200 | 0.31 | 1.15 | 1.38 | 0.88 | 2.74 | 0.25 | 0.59 | 0.95 | 9 |
| HS2040603 | 3/8x1-1/4 | 1550 | 0.38 | 1.27 | 1.62 | 1.00 | 3.07 | 0.31 | 0.66 | 1.05 | 15 |
| HS2040604 | 1/2x1-1/2 | 2600 | 0.50 | 1.53 | 1.95 | 1.19 | 3.70 | 0.38 | 0.91 | 1.27 | 28 |
| HS2040605 | 5/8x1-3/4 | 5200 | 0.63 | 1.79 | 2.38 | 1.38 | 4.45 | 0.50 | 1.13 | 1.53 | 55 |
| HS2040606 | 3/4x2 | 7200 | 0.75 | 2.05 | 2.76 | 1.50 | 5.07 | 0.63 | 1.38 | 1.71 | 96 |
| HS2040607 | 7/8x2-1/4 | 10600 | 0.88 | 2.31 | 3.25 | 1.75 | 5.87 | 0.75 | 1.56 | 2.00 | 154 |
| HS2040608 | 1x2-1/2 | 13300 | 1.00 | 2.57 | 3.76 | 2.00 | 6.66 | 0.88 | 1.81 | 2.09 | 238 |
| HS2040609 | 1-1/4x3 | 21000 | 1.25 | 3.09 | 4.50 | 2.50 | 7.95 | 1.00 | 2.28 | 2.73 | 399 |
| HS2040610 | 1-1/2x3-1/2 | 24000 | 1.50 | 3.60 | 5.50 | 3.00 | 9.49 | 1.25 | 2.75 | 3.28 | 720 |
Diseño de alta resistencia: los procesos de forja y tratamiento térmico le dan al producto una excelente resistencia, pueden soportar grandes fuerzas de tracción, tienen un límite de carga de trabajo claro (WLL) y una carga de rotura mínima (MBL) de hasta 5 veces el WLL, lo que garantiza operaciones de elevación seguras y confiables.
Instalación precisa: El diseño del hombro evita que los pernos se atornillen demasiado profundo, lo que garantiza posiciones de instalación precisas, al tiempo que dispersa uniformemente la presión al soportar cargas y mejora la estabilidad de la conexión.
Buena resistencia a la corrosión: el tratamiento galvanizado o galvanizado en caliente forma una película protectora densa en la superficie del producto, resistiendo eficazmente ambientes corrosivos como la humedad, el ácido y el álcali, y es adecuado para condiciones de trabajo complejas como las industrias químicas y al aire libre, lo que prolonga la vida útil del producto.
Fuerte adaptabilidad a las especificaciones: una amplia gama de especificaciones de tamaño puede coincidir con precisión con los orificios de instalación de diferentes tamaños y requisitos de elevación para cumplir con una variedad de escenarios de aplicaciones industriales.
Instalacióny mantenimiento de equipos industriales: En la fábrica, al levantar diversos equipos y piezas mecánicas, se utiliza como punto de elevación para facilitar la instalación, puesta en marcha y mantenimiento del equipo, asegurando el posicionamiento preciso y el manejo seguro del equipo, como la instalación de motores, máquinas herramienta y otros equipos.
Campo de la construcción: Durante el proceso de construcción, se levantan materiales de construcción como paneles prefabricados, vigas de acero y otros objetos pesados; Cuando se construyen grandes equipos de elevación, como grúas torre y grúas pórtico, se utiliza para fijar los cables en partes clave para mejorar la estabilidad del equipo.
Almacenaje y manipulación logística: Durante la carga y descarga de mercancías, se utiliza como punto de conexión de elevación para facilitar la manipulación y carga y descarga de mercancías; Al instalar estantes de almacenamiento, se utiliza para fijar la estructura del estante para evitar que los estantes se muevan o se vuelquen durante el uso.
Construcción y mantenimiento naval: Durante la construcción naval, se utiliza para fijar equipos grandes, tapas de escotillas y otros componentes del barco; durante el mantenimiento del barco, los cáncamos G279 se utilizan para levantar y reemplazar piezas para garantizar el funcionamiento normal del barco.
Q1: ¿Cómo elegir la especificación correcta?
Elija según la carga máxima de la operación. Por ejemplo, si levanta una carga de 10 toneladas, debe elegir una especificación de grillete con una carga máxima de trabajo superior a 10 toneladas. Consulte las dimensiones en los parámetros del producto para asegurarse de que sea compatible con los cables, cadenas, etc. conectados.
Q3: ¿Cuál es el rango de temperatura de funcionamiento?
El grillete está certificado para usarse en un entorno de -40 °C (-40 °F) a 204 °C (400 °F). Superar este rango de temperatura puede afectar el rendimiento del material y la seguridad de la conexión.
Q3: ¿Qué precauciones se deben tomar para la instalación y el desmontaje?
Durante la instalación, asegúrese de apretar bien el pasador roscado para evitar que se afloje; durante el desmontaje, evite una operación violenta que pueda dañar la rosca. Antes y durante el uso, revise regularmente el desgaste de la rosca y las grietas en el cuerpo.
Q3: ¿Se pueden proporcionar las certificaciones pertinentes? Algunos fabricantes pueden proporcionar certificados de certificación para estándares específicos como ABS, DNV, Lloyds, etc., que deben solicitarse al realizar un pedido y pueden generar costos adicionales.
Si tiene alguna pregunta o necesidad sobre el producto, rellene el siguiente formulario y nos pondremos en contacto con usted lo antes posible.
Tuerca de ojo del perno de ojo
Tuerca de ojo del perno de ojo
Tuerca de ojo del perno de ojo
Tuerca de ojo del perno de ojo
Tuerca de ojo del perno de ojo
Tuerca de ojo del perno de ojo
Tuerca de ojo del perno de ojo
Tuerca de ojo del perno de ojo
Conozca Haosail, nuestras actualizaciones y todas las novedades, directamente en su bandeja de entrada.
Piso 7, Edificio 93, Sede de R&F, n.° 1, Changcheng South Road, Distrito de Chengyang, Ciudad de Qingdao, Provincia de Shandong, China 266109
Copyright © 2025 Qingdao Haosail Machinery Co., Ltd. Todos los derechos reservados. Desarrollado por Hicheng