HAOSAIL cuenta con más de 10 patentes de invención y 40 patentes de modelos de utilidad, lo que refleja nuestro compromiso con la I+D y el avance tecnológico.
Priorizamos rigurosos procesos de control de calidad y pruebas para garantizar el cumplimiento de las normas internacionales y los requisitos del cliente.
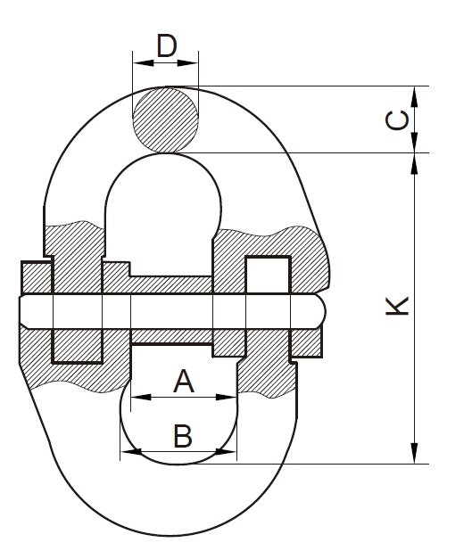
El eslabón de conexión G100 es un conector de elevación fabricado con acero de aleación de alta resistencia forjado y tratado térmicamente. Su carga límite de trabajo es al menos un 25 % superior a la de los productos G80. Se utiliza principalmente para conectar cadenas, anillas, ganchos y otros componentes de elevación G100, apto para tracción directa y de uso frecuente en diversas operaciones de elevación.
![]()
| Stock no. | Size (mm) | WLL (t) | Dimensions (mm) | Weight (kg) | ||||
| A | B | C | D | K | ||||
| HS1030501 | 6-10 | 1.4 | 14 | 16.9 | 8.5 | 7 | 44.5 | 0.08 |
| HS1030502 | 7-10 | 1.9 | 18.5 | 22.5 | 10 | 8.2 | 59 | 0.16 |
| HS1030503 | 7/8-10 | 2.5 | 18.5 | 22 | 11 | 8.5 | 59 | 0.17 |
| HS1030504 | 8-10 | 2.5 | 18.5 | 22.7 | 10.5 | 10 | 63 | 0.18 |
| HS1030505 | 10-10 | 4 | 23 | 22.7 | 12.6 | 12.6 | 71 | 0.34 |
| HS1030506 | 13-10 | 6.7 | 28 | 33.2 | 16.5 | 16.5 | 92.5 | 0.68 |
| HS1030507 | 16-10 | 10 | 33.5 | 39 | 20 | 20 | 106.5 | 1.22 |
| HS1030508 | 20-10 | 16 | 42 | 47.3 | 25 | 25 | 123 | 2.13 |
| HS1030509 | 22-10 | 19 | 48 | 55 | 27 | 27 | 137.5 | 3 |
| HS1030510 | 26-10 | 26.5 | 61 | 68 | 32 | 32 | 163 | 5.2 |
| HS1030511 | 32-10 | 39.3 | 80 | 87 | 40 | 40 | 197 | 9.55 |
Características del eslabón de conexión G100:
Acero forjado de superaleación - Templado y revenido
Apto para cadenas G100
25 % más resistente que las G80
Prueba de resistencia individual a 2,5 veces la carga límite de trabajo
Prueba de fatiga a 1,5 veces la carga límite de trabajo durante 20 000 ciclos
Se realizan rigurosas pruebas de muestreo y rotura en cada lote de productos
Detección de grietas con Magnaflux al 100 %
Todos los pasadores de carga se inspeccionan y prueban individualmente al 100 %
Tratamiento superficial: Plastificado en polvo
Código de color: Azul RAL5015
La carga límite es 4 veces la carga límite de trabajo
Aplicaciones típicas del eslabón de conexión G100:
Construcción: En proyectos de construcción, las cadenas G100 se pueden conectar con ganchos, anillos de elevación, etc. para formar eslingas de elevación para levantar objetos pesados, como componentes de estructuras de acero y paneles de hormigón prefabricado. En combinación con equipos de elevación como grúas torre y grúas sobre orugas, se pueden elevar objetos pesados con precisión a edificios de gran altura o a ubicaciones designadas para garantizar una construcción sin contratiempos.
Operaciones mineras: Durante la minería y el transporte, es necesario elevar grandes cantidades de mineral y equipos mecánicos. El eslabón de conexión G100 se conecta para formar eslingas de cadena de elevación para elevar equipos pesados como vagones mineros y trituradoras, y también se puede utilizar para elevar equipos de soporte en minas. Su alta resistencia y fiabilidad permiten satisfacer las necesidades de elevación de alta intensidad y alta frecuencia en entornos mineros.
Construcción y mantenimiento naval: Durante la construcción naval, es necesario elevar secciones del casco y equipos de grandes dimensiones. El eslabón de conexión G100 se puede utilizar como componente de conexión de cadena para participar en la construcción de un sistema de eslingas de elevación y garantizar la seguridad y fiabilidad de la elevación de componentes y equipos del casco. Durante el mantenimiento de buques, también se puede utilizar para elevar ciertas partes del buque para su reparación o sustitución.
Fabricación de maquinaria pesada: En talleres de fabricación de maquinaria pesada, al ensamblar maquinaria y equipos de gran tamaño, a menudo es necesario izar diversas piezas pesadas. El eslabón de conexión G100 puede conectar cadenas y funcionar con grúas y otros equipos de elevación para izar con precisión motores, cajas de engranajes y otras piezas, lo que facilita el ensamblaje y la depuración de equipos.
Q1: ¿Qué cadenas son compatibles con el eslabón de conexión G100?
Es principalmente compatible con cadenas G100. Algunos productos también son compatibles con cadenas G80. Sin embargo, para garantizar el rendimiento y la seguridad, se recomienda utilizar primero cadenas G100.
Q3: ¿De qué materiales está hecho el eslabón de conexión G100 y cuál es su rendimiento?
Generalmente está forjado y tratado térmicamente con acero aleado de alta resistencia y tenacidad. Su carga límite de trabajo es al menos un 25 % superior a la de los productos G80 y cumple con las normas pertinentes, como la EN 1677.
Q3: ¿Se ha sometido el eslabón de conexión G100 a pruebas de calidad?
Se someterá a pruebas rigurosas, como pruebas de 2,5 veces la carga límite de trabajo, inspección de grietas con partículas magnéticas al 100 %, pruebas de carga de rotura y 20 000 pruebas de fatiga a 1,5 veces la carga límite de trabajo para cada lote de muestras.
Q3: ¿Qué precauciones se deben tomar al instalar el eslabón de conexión G100? Debe ser instalado por profesionales y solo es apto para tracción directa. Durante la instalación, asegúrese de la compatibilidad con otros componentes de la eslinga de cadena, de que la conexión sea firme y de que no esté amontonada ni instalada de forma incorrecta.
Q2: ¿Con qué frecuencia se debe realizar el mantenimiento e inspección del eslabón de conexión G100 y en qué circunstancias debe reemplazarse?
Se recomienda que un profesional lo inspeccione una vez al mes. Si el desgaste dimensional supera el 5 % del tamaño original o la deformación dimensional supera el 3 %, debe reemplazarse a tiempo.
Q3: ¿Qué componentes suele conectar el eslabón de conexión G100?
Normalmente se utiliza para conectar componentes de elevación como anillas, ganchos y cadenas, y se utiliza a menudo para ensamblar eslingas de cadena, etc.
Si tiene alguna pregunta o necesidad sobre el producto, rellene el siguiente formulario y nos pondremos en contacto con usted lo antes posible.
Accesorios G100
Accesorios G100
Accesorios G100
Accesorios G100
Accesorios G100
Accesorios G100
Accesorios G100
Accesorios G100
Accesorios G100
Accesorios G100
Accesorios G100
Accesorios G100
Conozca Haosail, nuestras actualizaciones y todas las novedades, directamente en su bandeja de entrada.
Piso 7, Edificio 93, Sede de R&F, n.° 1, Changcheng South Road, Distrito de Chengyang, Ciudad de Qingdao, Provincia de Shandong, China 266109
Copyright © 2025 Qingdao Haosail Machinery Co., Ltd. Todos los derechos reservados. Desarrollado por Hicheng