HAOSAIL cuenta con más de 10 patentes de invención y 40 patentes de modelos de utilidad, lo que refleja nuestro compromiso con la I+D y el avance tecnológico.
Priorizamos rigurosos procesos de control de calidad y pruebas para garantizar el cumplimiento de las normas internacionales y los requisitos del cliente.
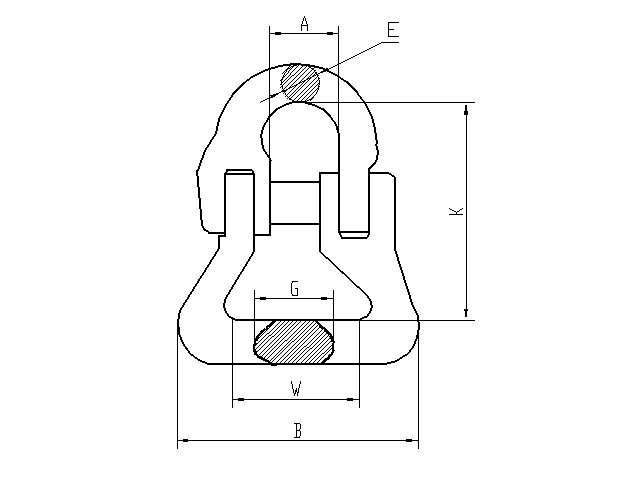
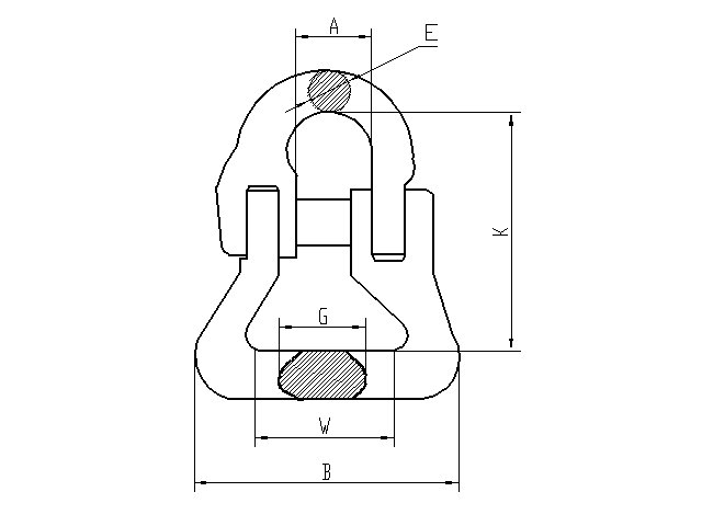
G80 ENLACE DE CONEXIÓN DE CORREAS también se denomina conector de eslinga de correa. Está hecho de acero aleado forjado, forjado a presión, templado y templado, y la superficie está pintada o galvanizada. Tiene alta resistencia y durabilidad y cumple con las normas EN 1677-4. El rango de tamaño suele ser de 6 mm a 32 mm y se puede personalizar. Se utiliza principalmente en la industria de la elevación para conectar cadenas, anillos principales o anillos giratorios, etc. Se puede utilizar solo o junto con otros aparejos.
![]()
| Nº de inventario | Tamaño ( mm ) | WLL (t) | A ( mm ) | B ( milímetro ) | K ( milímetro ) | W ( mm ) | G ( milímetro ) | E ( milímetro ) | Peso (kg) |
| HS1020801 | 6-8 | 1.12 | 15.2 | 60.0 | 56.0 | 40.0 | 18.0 | 7.5 | 0.20 |
| HS1020802 | 7/8-8 | 2.0 | 20.0 | 61.5 | 63.7 | 40.0 | 24.0 | 9.5 | 0.30 |
| HS1020803 | 10-8 | 3.2 | 24.0 | 66.0 | 83.0 | 39.0 | 30.5 | 11.0 | 0.68 |
| HS1020804 | 13-8 | 5.3 | 28.0 | 88.0 | 93.7 | 55.0 | 36.8 | 16.5 | 1.47 |
| HS1020805 | 16-8 | 8.0 | 36.0 | 131.1 | 115.4 | 80.2 | 42.0 | 20.0 | 2.30 |
| HS1020806 | 20-8 | 12.5 | 42.0 | 129.0 | 138.0 | 80.0 | 51.8 | 24.5 | 3.30 |
| HS1020807 | 22-8 | 15.0 | 49.0 | 191.0 | 180.0 | 126.0 | 80.0 | 24.5 | 6.89 |
| HS1020808 | 26-8 | 21.2 | 58.5 | 228.4 | 209.0 | 152.0 | 82.0 | 31.5 | 10.62 |
| HS1020809 | 32-8 | 31.5 | 67.5 | 252.0 | 279.0 | 160.0 | 91.0 | 38.5 | 18.92 |
Material: acero forjado de súper aleación
100% probado a 2,5 veces el límite de carga de trabajo
Detección de grietas 100% Magnaflux
Prueba de rotura de muestreo para cada lote
Fatiga probada a 1,5 veces el límite de carga de trabajo durante 20000 ciclos
Los pines son 100% de detección de fallas de prueba de corrientes parásitas
Adecuado para la eslinga de banda EN1492-2 y la cadena EN818-2 G80
G80 BELTBING CONNECTING LINK se utiliza principalmente en el campo de la elevación y la elevación. Puede conectar piezas de aparejo como cadenas, anillos de elevación, ganchos, cables de acero o correas de elevación de fibra sintética. Al conectar estas partes entre sí, se ensamblan en varias formas de eslingas para lograr la elevación y manipulación de objetos y equipos pesados.
Es ampliamente utilizado en maquinaria, metalurgia, electricidad, ferrocarriles, conservación de agua, puertos, muelles y otras industrias. Por ejemplo, se utiliza para cargar y descargar mercancías en puertos, para levantar acero en la industria metalúrgica y para levantar equipos eléctricos en la industria energética.
Q1: ¿De qué material está hecho el producto?
Generalmente está fabricado en acero aleado forjado, templado y revenido para obtener la máxima resistencia a la tracción según la norma EN 1677-4.
Q3: ¿Cuál es la carga límite de trabajo?
La carga límite de trabajo se indica permanentemente en el cuerpo del producto. La carga máxima de verificación suele ser 2,5 veces la carga límite de trabajo y la resistencia mínima a la rotura es 4 veces la carga límite de trabajo.
Q3: ¿Cuál es el tratamiento de la superficie?
El tratamiento de superficie habitual es el recubrimiento en polvo, y los colores son amarillo (RAL1003) o rojo (RAL3020), etc. También se pueden suministrar otros colores bajo pedido.
Q3: ¿Para qué aplicaciones es adecuado?
Se utiliza principalmente en la industria de la elevación; se puede conectar a cadenas, anillos principales o anillos giratorios, etc., y se suele usar junto con eslingas de cincha.
Q3: ¿Qué se debe comprobar antes de usar?
Antes de usar, compruebe si presenta grietas, deformaciones superiores a 10 grados y desgaste superior al 10 %. Si se presentan las condiciones anteriores, no debe utilizarse.
Q3: ¿Se ha realizado el control de calidad del producto?
Cada pieza se someterá a rigurosas pruebas, con una carga de trabajo 2,5 veces superior a la permitida, una inspección 100 % de partículas magnéticas y una prueba de pasadores para garantizar una dureza constante.
Si tiene alguna pregunta o necesidad sobre el producto, rellene el siguiente formulario y nos pondremos en contacto con usted lo antes posible.
Accesorios G80
Accesorios G80
Accesorios G80
Accesorios G80
Accesorios G80
Accesorios G80
Accesorios G80
Accesorios G80
Accesorios G80
Accesorios G80
Accesorios G80
Accesorios G80
Conozca Haosail, nuestras actualizaciones y todas las novedades, directamente en su bandeja de entrada.
Piso 7, Edificio 93, Sede de R&F, n.° 1, Changcheng South Road, Distrito de Chengyang, Ciudad de Qingdao, Provincia de Shandong, China 266109
Copyright © 2025 Qingdao Haosail Machinery Co., Ltd. Todos los derechos reservados. Desarrollado por Hicheng